P3370
P3370

Description
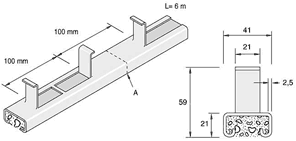
- P3370 inserts are designed to accommodate M6, M8, M10, M12 fixings.
- Cutting positions are between lugs as indicated (A) in increments of 200mm
- Recommended loading on P3370 inserts in average strength concrete* with a safety factor of approximately 3, is as follows:
- Inserts 300mm and over 6,7 kN pull out per 300mm
*B = 25 N/mm²
Stated loads apply to mild steel products only.
Data
| Part No. |
Finish |
Length |
Weight |
| P3370X6 |
HG |
6M |
11.6 |
| P3370X6 |
PG |
6M |
11.6 |
| P3270X6 |
SS |
6M |
11.89 |
|
|