P1043
P1043

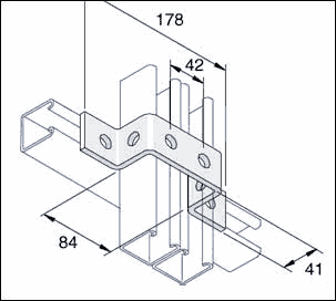
Description
Standard Dimensions:
The following are standard dimensions unless otherwise stated.All dimensions subject to commercial tolerance.
- Hole size: 14mm diameter
- Hole spacing (from end): 20mm from end of fitting
- Hole spacing (on centre) 48mm centre to centre
- Fitting width: 40mm
Data
| Part No. | Finish |
Weight |
Box Qty |
| P1043 |
HG |
0.43 |
20 |
| P1043 |
SS |
0.44 |
20 |
|
|
|